专利数据库
统计分析
产业报告
专利数据监控
产业人才
行业动态
产业政策法规
维权援助
个人中心
详情
文本
图像
标题
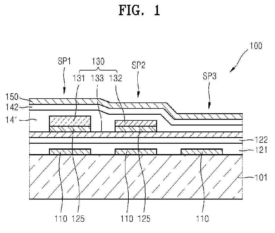
Organic light-emitting display apparatus
授权日
1900-01-01
公开(公告)号
EP2372770A2
申请日
2011-03-30
公开(公告)日
2011-10-05
当前申请(专利权)人
SAMSUNG DISPLAY CO., LTD.
发明人
PARK, JIN-WOO | KI, HYO-YEON | PYO, SANG-WOO | KIM, BEOM-JOON | SUH, MIN-CHUL | KANG, TAE-MIN | JUNG, MYUNG-JONG
简单同族
CN102208433A | CN102208433B | EP2372770A2 | EP2372770A3 | JP2011216470A | JP5886528B2 | KR101137392B1 | KR1020110109559A | US20110240970A1 | US8581270
简单同族成员数量
10
简单同族被引用专利总数
66
诉讼案件数
0
法律状态/事件
撤回 | 权利转移
抱歉,您的浏览器不支持PDF预览,请点击链接下载PDF文件