专利数据库
统计分析
产业报告
专利数据监控
产业人才
行业动态
产业政策法规
维权援助
个人中心
详情
文本
图像
标题
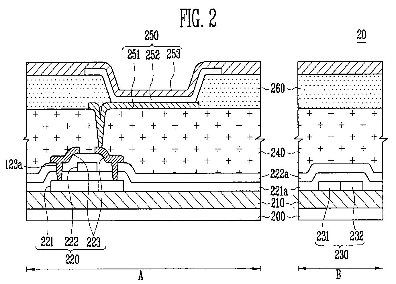
Photo sensor and organic light-emitting display using the same
授权日
1900-01-01
公开(公告)号
EP1801883A1
申请日
2006-12-21
公开(公告)日
2007-06-27
当前申请(专利权)人
SAMSUNG DISPLAY CO., LTD.
发明人
YANG, SUN A. LEGAL & IP TEAM, SAMSUNG SDI CO.,LTD. | OH, YOUN CHUL LEGAL & IP TEAM, SAMSUNG SDI CO.,LTD. | LEE, EUN JUNG LEGAL & IP TEAM, SAMSUNG SDI CO.,LTD. | KANG, WON SEOK LEGAL & IP TEAM, SAMSUNG SDI CO.,LTD. | PARK, HYE HYANG LEGAL & IP TEAM, SAMSUNG SDI CO.,LTD. | CHOI, BYOUNG DEOG LEGAL & IP TEAM, SAMSUNG SDI CO.,LTD.
简单同族
EP1801883A1 | JP2007173832A | US20070138951A1 | US8477125
简单同族成员数量
4
简单同族被引用专利总数
48
诉讼案件数
0
法律状态/事件
驳回 | 权利转移
抱歉,您的浏览器不支持PDF预览,请点击链接下载PDF文件