专利数据库
统计分析
产业报告
专利数据监控
产业人才
行业动态
产业政策法规
维权援助
个人中心
详情
文本
图像
标题
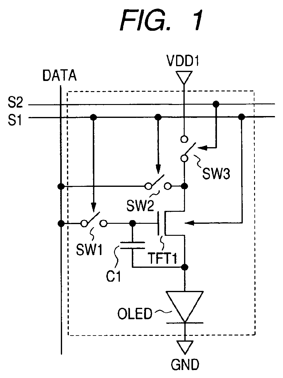
Pixel circuit, light emitting display device and driving method thereof
授权日
1900-01-01
公开(公告)号
EP2161706A2
申请日
2009-08-28
公开(公告)日
2010-03-10
当前申请(专利权)人
CANON KABUSHIKI KAISHA
发明人
ABE, KATSUMI | TAKAHASHI, KENJI | HAYASHI, RYO | KUMOMI, HIDEYA
简单同族
CN101667391A | CN101667391B | EP2161706A2 | EP2161706A3 | JP2010060816A | JP5207885B2 | KR101125595B1 | KR1020100027986A | TW201011719A | TWI419117B | US20100053041A1 | US8659519
简单同族成员数量
12
简单同族被引用专利总数
122
诉讼案件数
0
法律状态/事件
撤回
抱歉,您的浏览器不支持PDF预览,请点击链接下载PDF文件