专利数据库
统计分析
产业报告
专利数据监控
产业人才
行业动态
产业政策法规
维权援助
个人中心
详情
文本
图像
标题
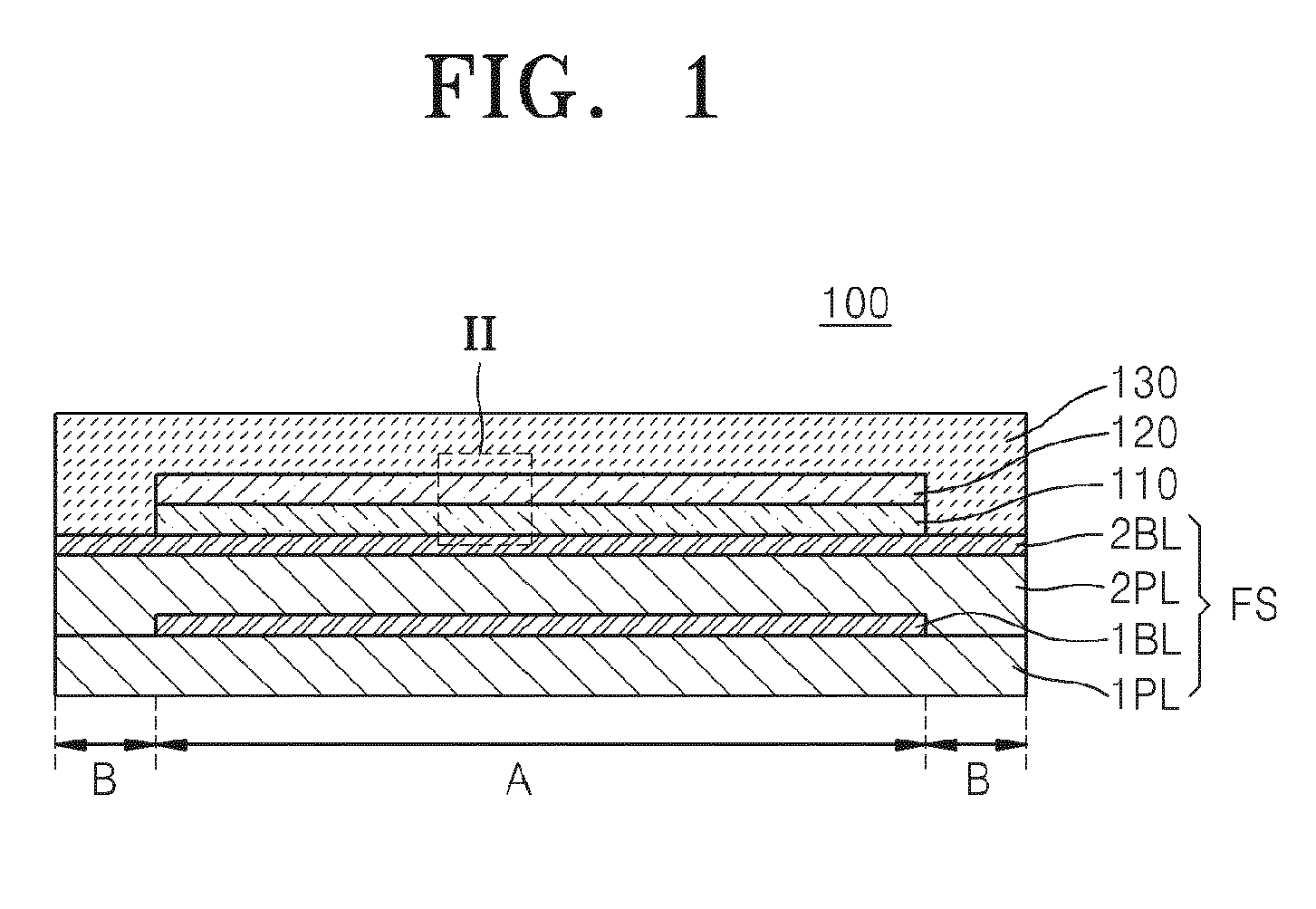
Organic Light-Emitting Display Apparatus Having a Flexible Substrate
授权日
1900-01-01
公开(公告)号
EP2806473A1
申请日
2014-05-16
公开(公告)日
2014-11-26
当前申请(专利权)人
SAMSUNG DISPLAY CO., LTD.
发明人
PARK, YONG-HWAN | YI, CHUNG | KIM, YONG-KWAN | LEE, JAE-SEOB
简单同族
CN104183783A | CN104183783B | CN107958924A | EP2806473A1 | EP2806473B1 | KR1020140137950A | KR102133433B1 | TW201445793A | TWI645593B | US20140346473A1 | US9406905
简单同族成员数量
11
简单同族被引用专利总数
54
诉讼案件数
0
法律状态/事件
授权 | 权利转移
抱歉,您的浏览器不支持PDF预览,请点击链接下载PDF文件