专利数据库
统计分析
产业报告
专利数据监控
产业人才
行业动态
产业政策法规
维权援助
个人中心
详情
文本
图像
标题
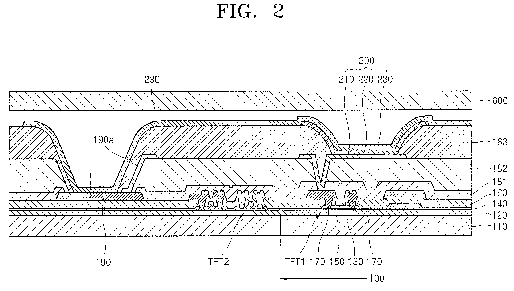
Organic light emitting display apparatus
授权日
1900-01-01
公开(公告)号
EP2061083A1
申请日
2008-11-14
公开(公告)日
2009-05-20
当前申请(专利权)人
SAMSUNG MOBILE DISPLAY CO., LTD.
发明人
KWAK, WON-KYU C/O LEGAL & IP TEAM SAMSUNG SDI CO., LTD. | KIM, YONG-SEOG C/O LEGAL & IP TEAM SAMSUNG SDI CO., LTD.
简单同族
CN101436608A | DE602008002125D1 | EP2061083A1 | EP2061083B1 | JP2009124108A | JP4785901B2 | KR100875103B1 | US20090128023A1 | US8030838
简单同族成员数量
9
简单同族被引用专利总数
69
诉讼案件数
0
法律状态/事件
授权 | 权利转移
抱歉,您的浏览器不支持PDF预览,请点击链接下载PDF文件