专利数据库
统计分析
产业报告
专利数据监控
产业人才
行业动态
产业政策法规
维权援助
个人中心
详情
文本
图像
标题
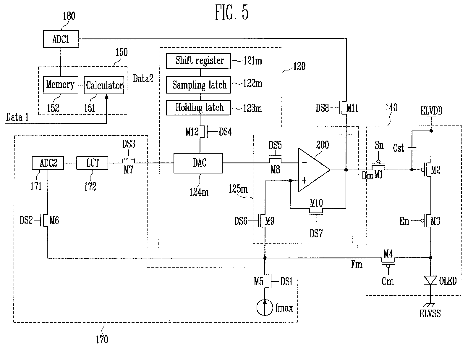
Organic light emitting display and method of driving the same
授权日
1900-01-01
公开(公告)号
EP2026319A1
申请日
2008-07-25
公开(公告)日
2009-02-18
当前申请(专利权)人
SAMSUNG DISPLAY CO., LTD.
发明人
KWON, OH-KYONG
简单同族
CN101354864A | CN101354864B | EP2026319A1 | EP2026319B1 | JP2009031712A | JP4772765B2 | KR100873707B1 | US20090027377A1 | US8274503
简单同族成员数量
9
简单同族被引用专利总数
124
诉讼案件数
0
法律状态/事件
授权 | 权利转移
抱歉,您的浏览器不支持PDF预览,请点击链接下载PDF文件