专利数据库
统计分析
产业报告
专利数据监控
产业人才
行业动态
产业政策法规
维权援助
个人中心
详情
文本
图像
标题
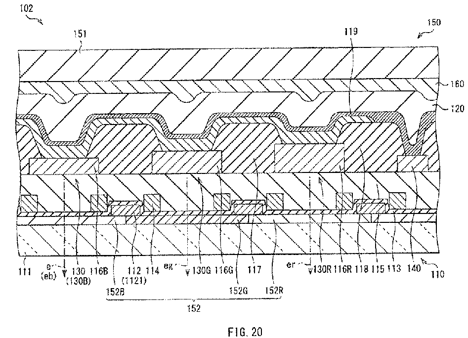
Display unit, method of manufacturing same, organic light emitting unit, and method of manufacturing same
授权日
1900-01-01
公开(公告)号
EP3447816A1
申请日
2004-09-17
公开(公告)日
2019-02-27
当前申请(专利权)人
SONY CORPORATION
发明人
KASHIWABARA, MITSUHIRO | YAMADA, JIRO | YOKOYAMA, SEIICHI | HANAWA, KOHJI
简单同族
CN1868240A | CN1868240B | EP1672962A1 | EP1672962A4 | EP1672962B1 | EP2509397A1 | EP2509397B1 | EP2975665A1 | EP2975665B1 | EP3151302A1 | EP3151302B1 | EP3413369A1 | EP3447816A1 | KR101079820B1 | KR101157579B1 | KR1020060079225A | KR1020110067139A | TW200524474A | TWI255669B | US10347697 | US20070102737A1 | US20110241038A1 | US20130207138A1 | US20140332832A1 | US20150295017A1 | US20160293673A1 | US20170154932A1 | US20180197923A1 | US20190326358A1 | US7973319 | US8415686 | US9123666 | US9373672 | US9627453 | US9911792 | WO2005039248A1
简单同族成员数量
36
简单同族被引用专利总数
427
诉讼案件数
0
法律状态/事件
实质审查
抱歉,您的浏览器不支持PDF预览,请点击链接下载PDF文件