专利数据库
统计分析
产业报告
专利数据监控
产业人才
行业动态
产业政策法规
维权援助
个人中心
详情
文本
图像
标题
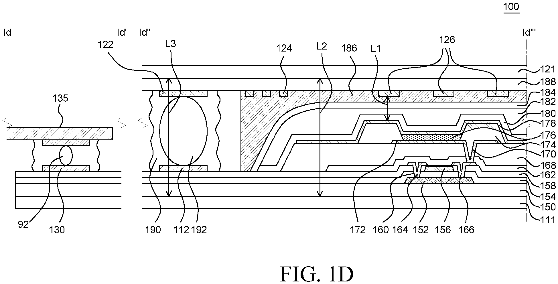
In cell-type touch panel integrated flexible organic light emitting display device
授权日
1900-01-01
公开(公告)号
EP2991116A1
申请日
2015-08-28
公开(公告)日
2016-03-02
当前申请(专利权)人
LG DISPLAY CO., LTD.
发明人
BONGKI, CHOI
简单同族
CN105390526A | CN105390526B | EP2991116A1 | EP2991116B1 | KR1020160026170A | US20160062520A1 | US9626063
简单同族成员数量
7
简单同族被引用专利总数
51
诉讼案件数
0
法律状态/事件
授权 | 权利转移
抱歉,您的浏览器不支持PDF预览,请点击链接下载PDF文件