专利数据库
统计分析
产业报告
专利数据监控
产业人才
行业动态
产业政策法规
维权援助
个人中心
详情
文本
图像
标题
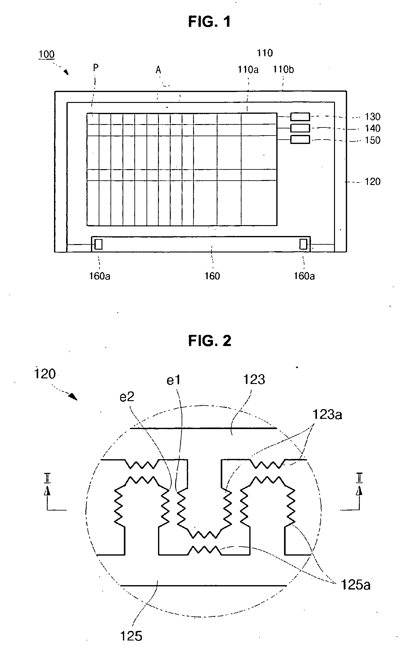
Organic light emitting display having an electrostatic discharge circuit
授权日
2013-12-25
公开(公告)号
EP1947697B1
申请日
2007-10-31
公开(公告)日
2013-12-25
当前申请(专利权)人
SAMSUNG DISPLAY CO., LTD.
发明人
JEONG, SEONI | CHOI, WOONGSIK
简单同族
CN101226954A | CN101226954B | EP1947697A1 | EP1947697B1 | JP2008176256A | JP4767877B2 | KR100788589B1 | US20080174238A1 | US8035298
简单同族成员数量
9
简单同族被引用专利总数
50
诉讼案件数
0
法律状态/事件
授权 | 权利转移
抱歉,您的浏览器不支持PDF预览,请点击链接下载PDF文件