专利数据库
统计分析
产业报告
专利数据监控
产业人才
行业动态
产业政策法规
维权援助
个人中心
详情
文本
图像
标题
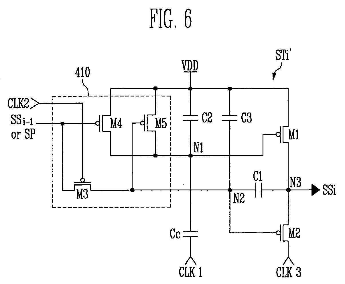
Shift register and organic light emitting display using the same
授权日
1900-01-01
公开(公告)号
EP1901274A3
申请日
2007-08-21
公开(公告)日
2009-05-27
当前申请(专利权)人
SAMSUNG MOBILE DISPLAY CO., LTD.
发明人
JEONG, JIN TAE LEGAL & IP TEAM
简单同族
CN101145398A | CN101145398B | EP1901274A2 | EP1901274A3 | EP1901274B1 | JP2008071468A | JP4971809B2 | KR100796137B1 | US20080062071A1 | US8040293
简单同族成员数量
10
简单同族被引用专利总数
106
诉讼案件数
0
法律状态/事件
授权 | 权利转移
抱歉,您的浏览器不支持PDF预览,请点击链接下载PDF文件