专利数据库
统计分析
产业报告
专利数据监控
产业人才
行业动态
产业政策法规
维权援助
个人中心
详情
文本
图像
标题
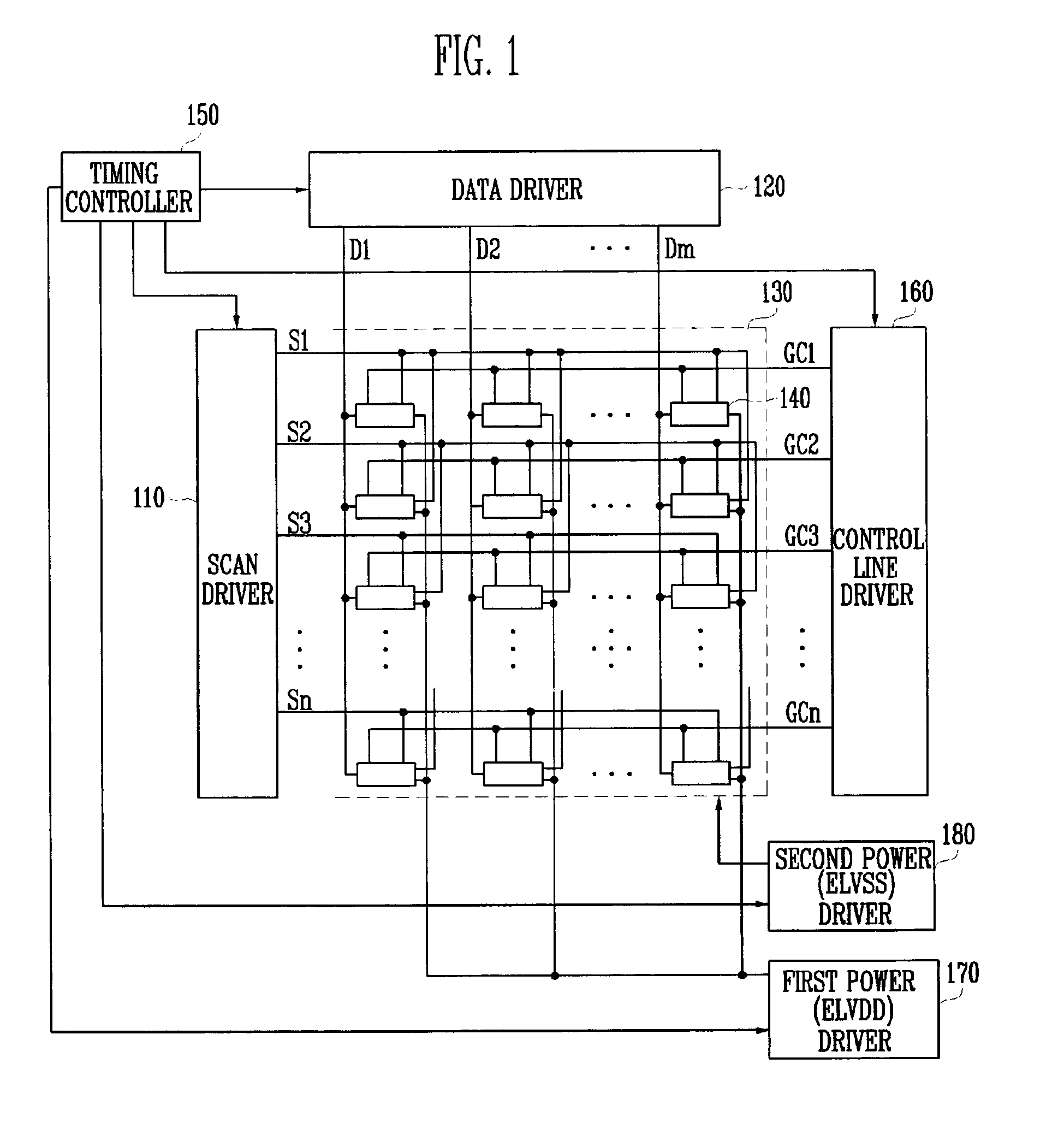
Organic light emitting display and driving method thereof
授权日
2013-11-20
公开(公告)号
EP2293274B1
申请日
2010-07-30
公开(公告)日
2013-11-20
当前申请(专利权)人
SAMSUNG DISPLAY CO., LTD.
发明人
LEE, BAEK-WOON
简单同族
CN101989403A | CN101989403B | EP2293274A2 | EP2293274A3 | EP2293274B1 | JP2011034039A | JP5684469B2 | KR1020110013693A | TW201108181A | TW201415438A | TWI416460B | TWI493523B | US20110025671A1 | US20150243222A1 | US9064458 | US9911385
简单同族成员数量
16
简单同族被引用专利总数
170
诉讼案件数
0
法律状态/事件
授权 | 权利转移
抱歉,您的浏览器不支持PDF预览,请点击链接下载PDF文件