专利数据库
统计分析
产业报告
专利数据监控
产业人才
行业动态
产业政策法规
维权援助
个人中心
详情
文本
图像
标题
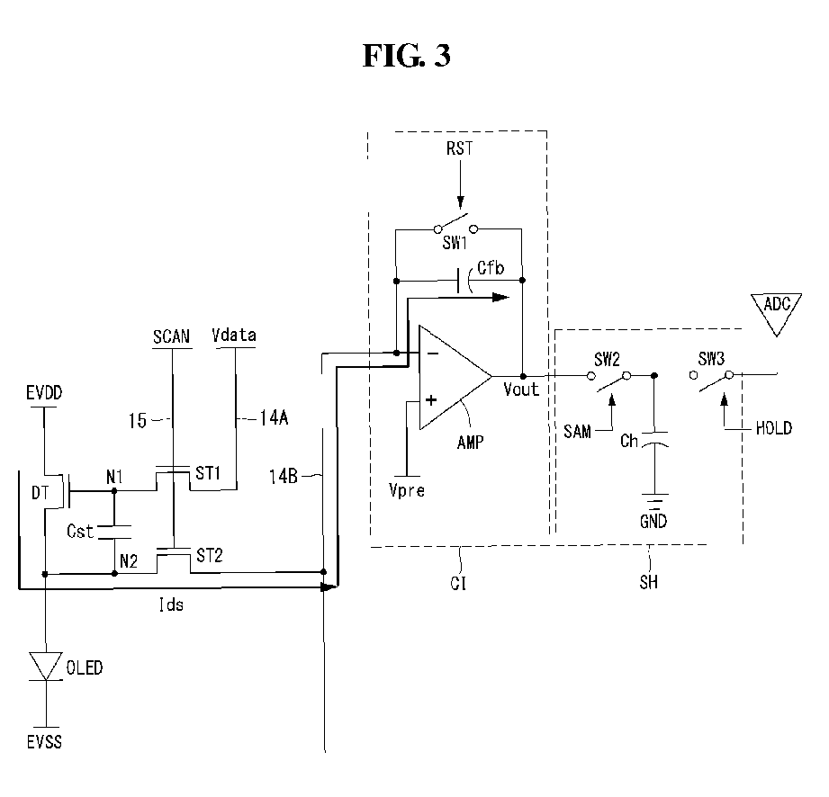
Organic light emitting display for compensating for variations in electrical characteristics of driving element
授权日
1900-01-01
公开(公告)号
EP2960894A1
申请日
2014-11-28
公开(公告)日
2015-12-30
当前申请(专利权)人
LG DISPLAY CO., LTD.
发明人
KIM, TAEGUNG | KIM, JUNGHYEON | YOON, JINHAN
简单同族
CN105321455A | CN105321455B | EP2960894A1 | EP2960894B1 | JP2016009185A | JP6144250B2 | KR101597037B1 | KR1020160001822A | TW201601136A | TWI571845B | US20150379937A1 | US9685119
简单同族成员数量
12
简单同族被引用专利总数
77
诉讼案件数
0
法律状态/事件
授权
抱歉,您的浏览器不支持PDF预览,请点击链接下载PDF文件