专利数据库
统计分析
产业报告
专利数据监控
产业人才
行业动态
产业政策法规
维权援助
个人中心
详情
文本
图像
标题
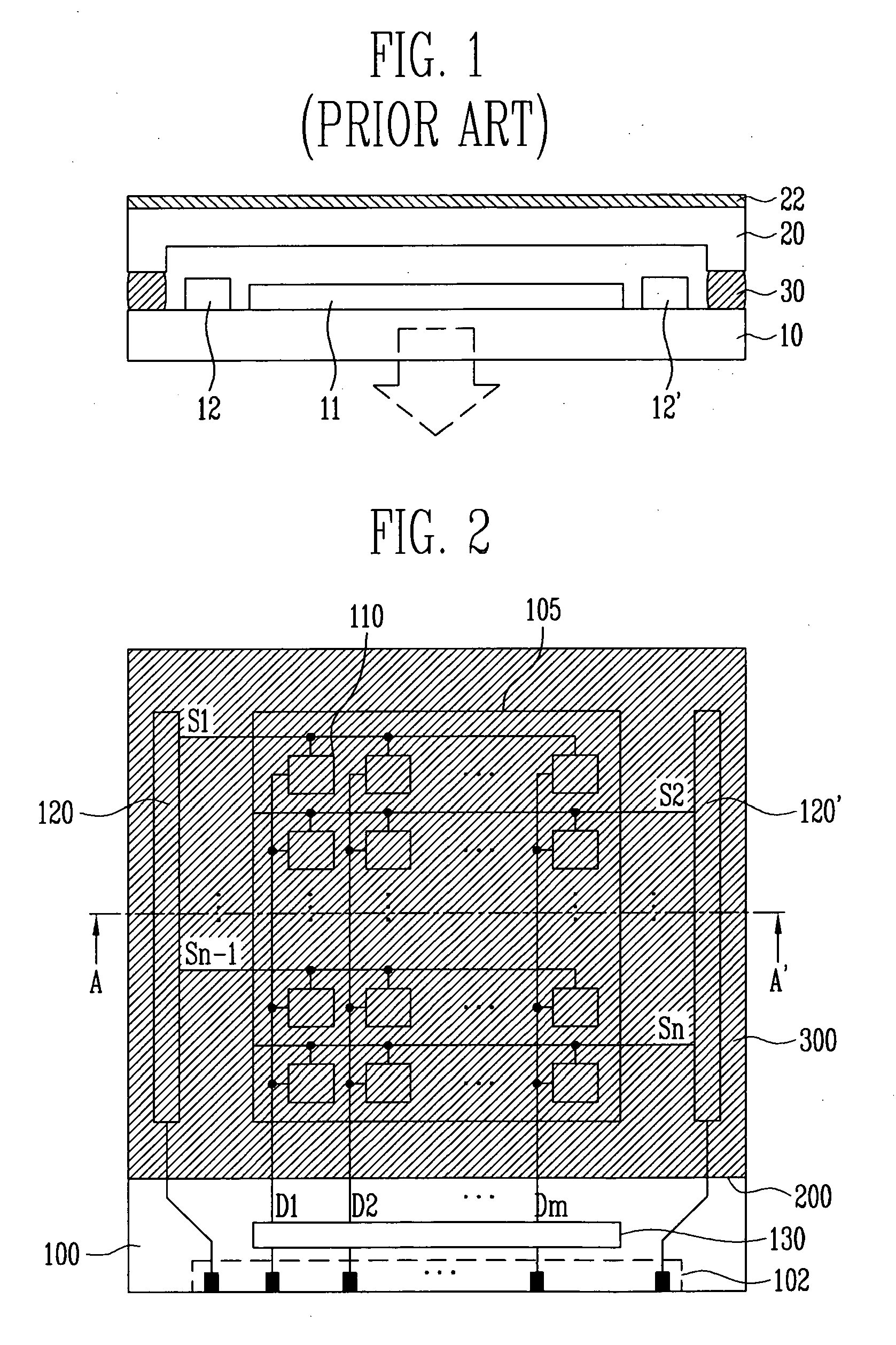
Organic light-emitting display device and method for fabricating the same
授权日
2012-06-27
公开(公告)号
EP1814174B1
申请日
2007-01-24
公开(公告)日
2012-06-27
当前申请(专利权)人
SAMSUNG MOBILE DISPLAY CO., LTD.
发明人
KWAK, WON KYU
简单同族
CN100539178C | CN101009317A | EP1814174A1 | EP1814174B1 | JP2007200848A | JP4800868B2 | KR100645705B1 | TW200733790A | TWI376977B | US20070176553A1 | US7893613
简单同族成员数量
11
简单同族被引用专利总数
52
诉讼案件数
0
法律状态/事件
权利终止 | 权利转移
抱歉,您的浏览器不支持PDF预览,请点击链接下载PDF文件