专利数据库
统计分析
产业报告
专利数据监控
产业人才
行业动态
产业政策法规
维权援助
个人中心
详情
文本
图像
标题
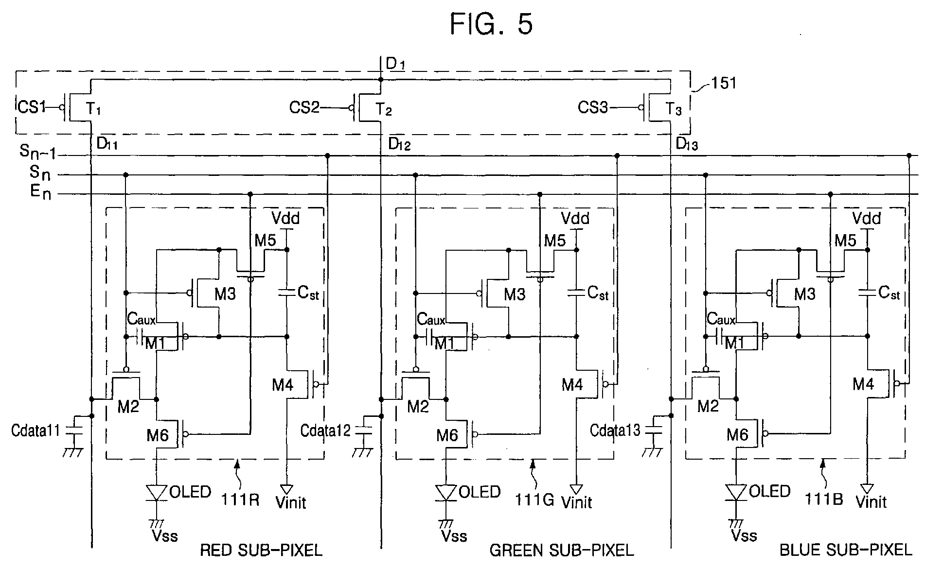
Organic light emitting display (OLED)
授权日
1900-01-01
公开(公告)号
EP1755104A2
申请日
2006-08-16
公开(公告)日
2007-02-21
当前申请(专利权)人
SAMSUNG MOBILE DISPLAY CO., LTD.
发明人
KIM, YANG-WAN C/O SAMSUNG SDI CO., LTD.
简单同族
CN100592363C | CN1917015A | DE602006017478D1 | EP1755104A2 | EP1755104A3 | EP1755104B1 | JP2007052422A | JP5135519B2 | KR100635509B1 | US20070040770A1 | US8289234
简单同族成员数量
11
简单同族被引用专利总数
155
诉讼案件数
0
法律状态/事件
授权 | 权利转移
抱歉,您的浏览器不支持PDF预览,请点击链接下载PDF文件