专利数据库
统计分析
产业报告
专利数据监控
产业人才
行业动态
产业政策法规
维权援助
个人中心
详情
文本
图像
标题
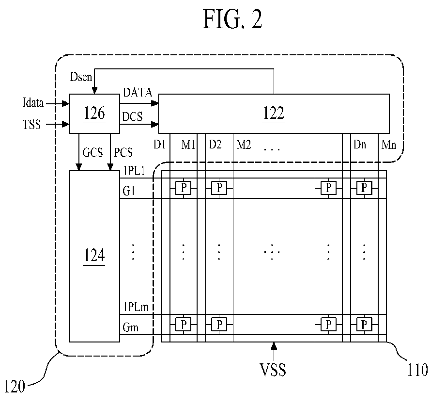
Organic light emitting display device
授权日
1900-01-01
公开(公告)号
EP2953124A1
申请日
2013-10-30
公开(公告)日
2015-12-09
当前申请(专利权)人
LG DISPLAY CO., LTD.
发明人
KIM, BUM SIK | HONG, YOUNG JUN | HAN, IN HYO
简单同族
CN103839517A | CN103839517B | EP2736039A2 | EP2736039A3 | EP2736039B1 | EP2953124A1 | EP2953124B1 | KR1020140066830A | US20140139510A1 | US9041705
简单同族成员数量
10
简单同族被引用专利总数
49
诉讼案件数
0
法律状态/事件
授权
抱歉,您的浏览器不支持PDF预览,请点击链接下载PDF文件