专利数据库
统计分析
产业报告
专利数据监控
产业人才
行业动态
产业政策法规
维权援助
个人中心
详情
文本
图像
标题
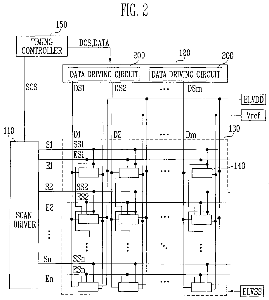
Data driving circuits and driving methods of organic light emitting displays using the same
授权日
1900-01-01
公开(公告)号
EP1758085A2
申请日
2006-08-01
公开(公告)日
2007-02-28
当前申请(专利权)人
IUCF-HYU (INDUSTRY-UNIVERSITY COOPERATION FOUNDATI | SAMSUNG MOBILE DISPLAY CO., LTD.
发明人
CHUNG, BO YONG SAMSUNG SDI CO., LTD. | RYU, DO HYUNG SAMSUNG SDI CO., LTD. | KIM, HONG KWON SAMSUNG SDI CO., LTD. | KWON, OH KYONG SAMSUNG SDI CO., LTD.
简单同族
CN100476931C | CN1909042A | EP1758085A2 | EP1758085A3 | EP1758085B1 | JP2007041531A | JP4790486B2 | KR100703463B1 | KR1020070015826A | US20070024544A1 | US7944418
简单同族成员数量
11
简单同族被引用专利总数
68
诉讼案件数
0
法律状态/事件
授权 | 权利转移
抱歉,您的浏览器不支持PDF预览,请点击链接下载PDF文件