专利数据库
统计分析
产业报告
专利数据监控
产业人才
行业动态
产业政策法规
维权援助
个人中心
详情
文本
图像
标题
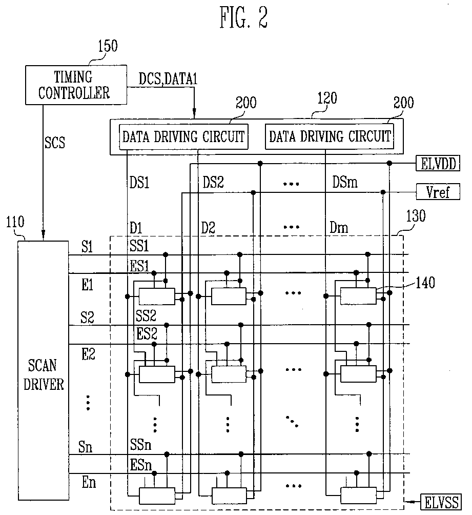
Data driving circuit and driving method of organic light emitting display using the same
授权日
1900-01-01
公开(公告)号
EP1758086A2
申请日
2006-08-01
公开(公告)日
2007-02-28
当前申请(专利权)人
IUCF-HYU (INDUSTRY-UNIVERSITY COOPERATION FOUNDATI | SAMSUNG MOBILE DISPLAY CO., LTD.
发明人
CHUNG, BO YONG SAMSUNG SDI CO., LTD. | RYU, DO HYUNG SAMSUNG SDI CO., LTD. | KIM, HONG KWON SAMSUNG SDI CO., LTD. | KWON, OH KYONG SAMSUNG SDI CO., LTD.
简单同族
CN100492474C | CN1909043A | EP1758086A2 | EP1758086A3 | EP1758086B1 | JP2007041532A | JP4611930B2 | KR100754131B1 | KR1020070015827A | US20070024542A1 | US7893897
简单同族成员数量
11
简单同族被引用专利总数
60
诉讼案件数
0
法律状态/事件
授权 | 权利转移
抱歉,您的浏览器不支持PDF预览,请点击链接下载PDF文件