专利数据库
统计分析
产业报告
专利数据监控
产业人才
行业动态
产业政策法规
维权援助
个人中心
详情
文本
图像
标题
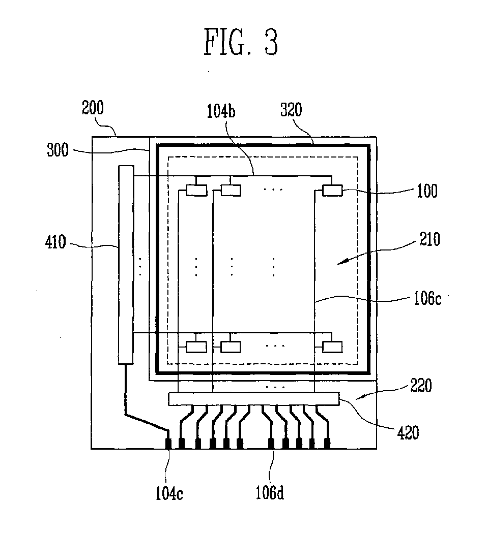
Organic light emitting display device
授权日
1900-01-01
公开(公告)号
EP1814181A3
申请日
2007-01-26
公开(公告)日
2011-07-27
当前申请(专利权)人
SAMSUNG DISPLAY CO., LTD.
发明人
KWAK, WON-KYU C/O SAMSUNG SDI CO., LTD.
简单同族
CN101009298A | EP1814181A2 | EP1814181A3 | EP1814181B1 | JP2007200835A | JP4456090B2 | KR100671638B1 | TW200730011A | TWI369914B | US20070170854A1 | US7701136
简单同族成员数量
11
简单同族被引用专利总数
115
诉讼案件数
0
法律状态/事件
授权 | 权利转移
抱歉,您的浏览器不支持PDF预览,请点击链接下载PDF文件