专利数据库
统计分析
产业报告
专利数据监控
产业人才
行业动态
产业政策法规
维权援助
个人中心
详情
文本
图像
标题
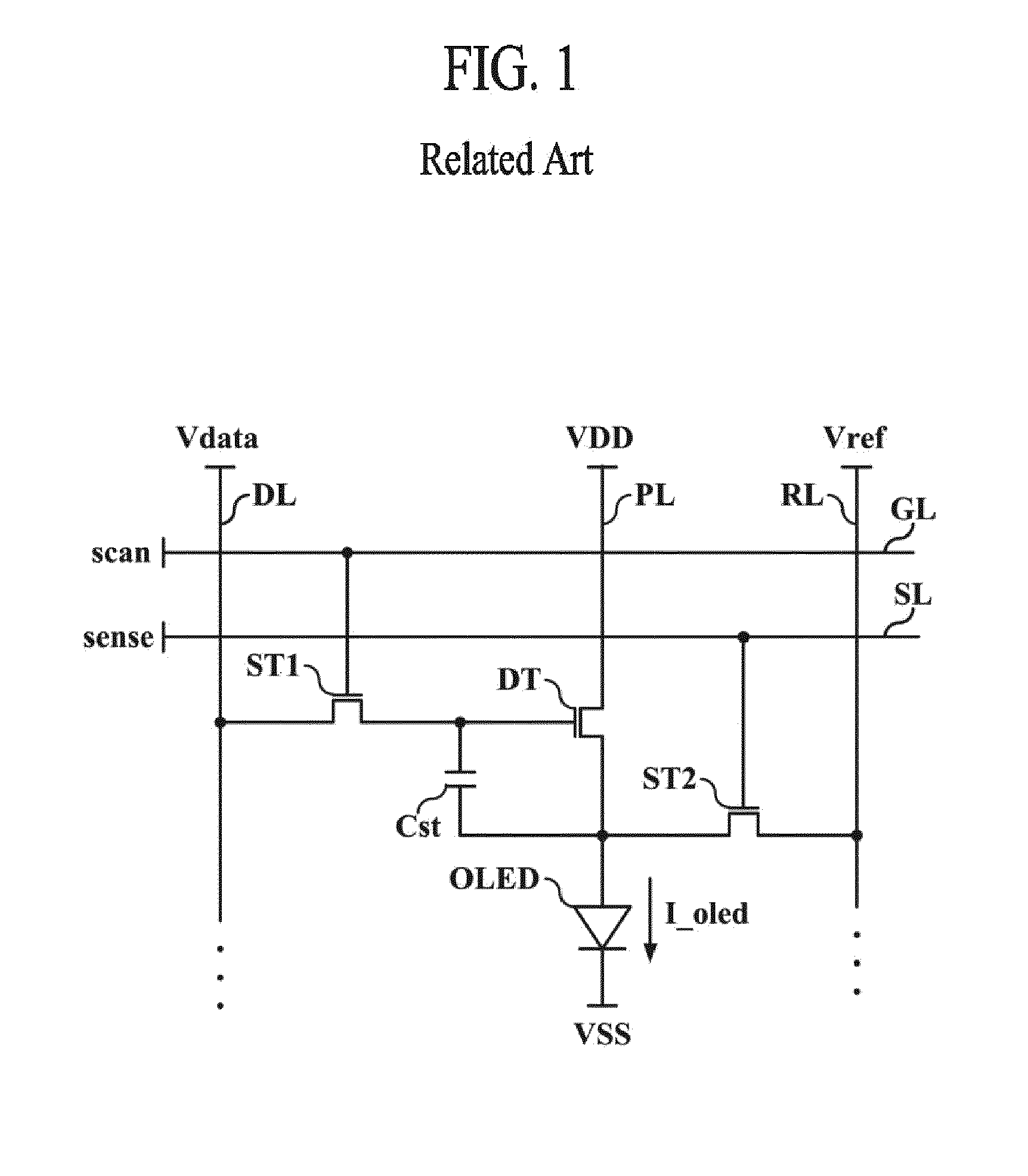
Organic light emitting display device and method of driving the same
授权日
1900-01-01
公开(公告)号
EP2747066A1
申请日
2013-11-19
公开(公告)日
2014-06-25
当前申请(专利权)人
LG DISPLAY CO., LTD.
发明人
WOO, KYOUNG DON | KIM, NARI | JUNG, JAE HOON
简单同族
CN103886831A | CN103886831B | EP2747066A1 | EP2747066B1 | JP2014123125A | JP2016105192A | JP2016105192A5 | JP6037391B2 | JP6371782B2 | KR1020140081450A | KR102027169B1 | TW201426713A | TWI508045B | US20140176525A1 | US9111491
简单同族成员数量
15
简单同族被引用专利总数
85
诉讼案件数
0
法律状态/事件
授权 | 权利转移
抱歉,您的浏览器不支持PDF预览,请点击链接下载PDF文件