专利数据库
统计分析
产业报告
专利数据监控
产业人才
行业动态
产业政策法规
维权援助
个人中心
详情
文本
图像
标题
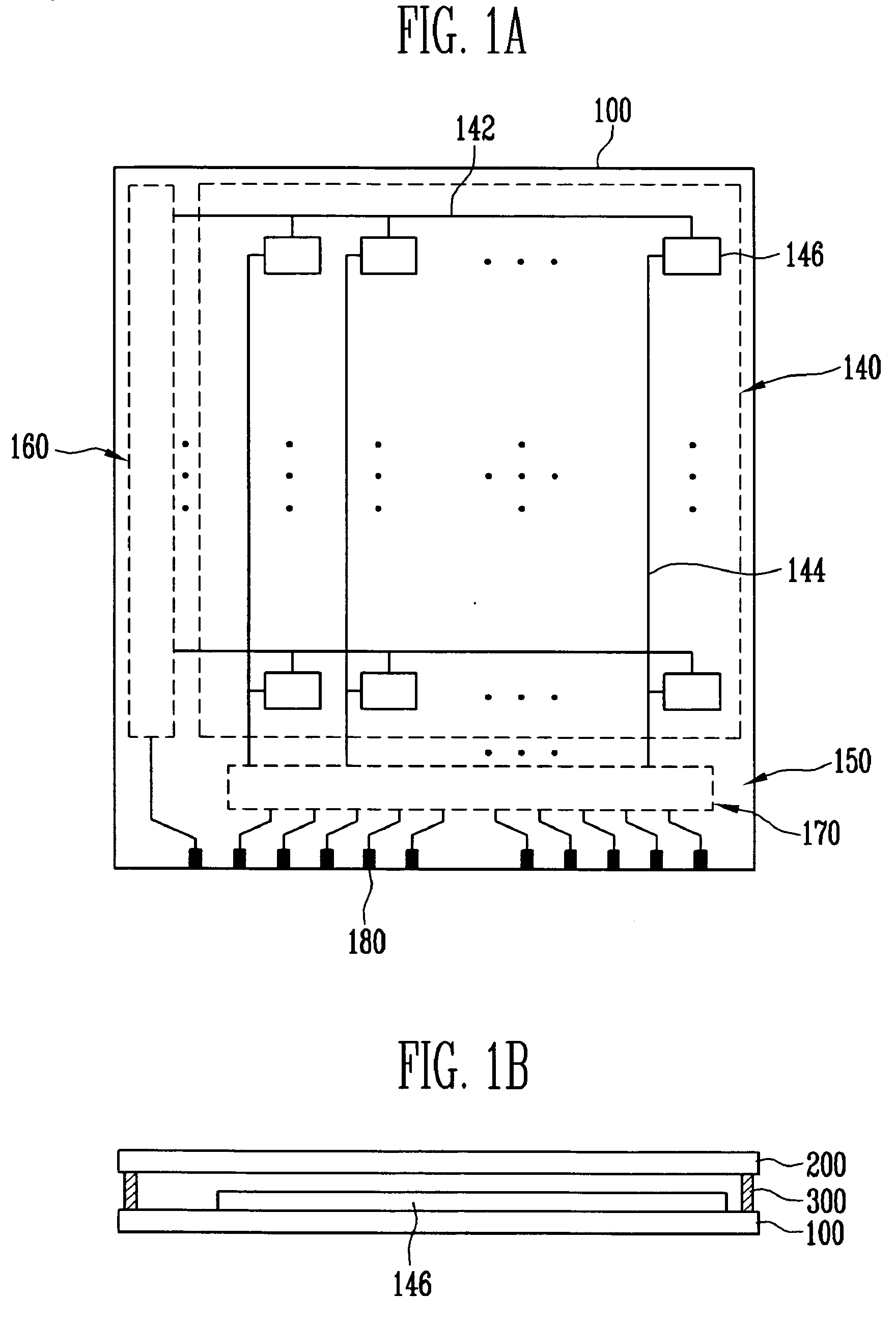
Organic light emitting display device and method of manufacturing the same
授权日
2011-09-07
公开(公告)号
EP2207206B1
申请日
2010-01-11
公开(公告)日
2011-09-07
当前申请(专利权)人
SAMSUNG MOBILE DISPLAY CO., LTD.
发明人
PARK, JIN-SEONG | MO, YEON-GON | CHUNG, HYUN-JOONG | JEONG, JAE-KYEONG | KIM, MIN-KYU | AHN, TAE-KYUNG
简单同族
AT523898T | CN101794809A | CN101794809B | EP2207206A1 | EP2207206B1 | JP2010161327A | JP5274327B2 | KR101034686B1 | KR1020100082940A | TW201030967A | TWI423436B | US20100176383A1 | US8436342
简单同族成员数量
13
简单同族被引用专利总数
130
诉讼案件数
0
法律状态/事件
授权
抱歉,您的浏览器不支持PDF预览,请点击链接下载PDF文件