专利数据库
统计分析
产业报告
专利数据监控
产业人才
行业动态
产业政策法规
维权援助
个人中心
详情
文本
图像
标题
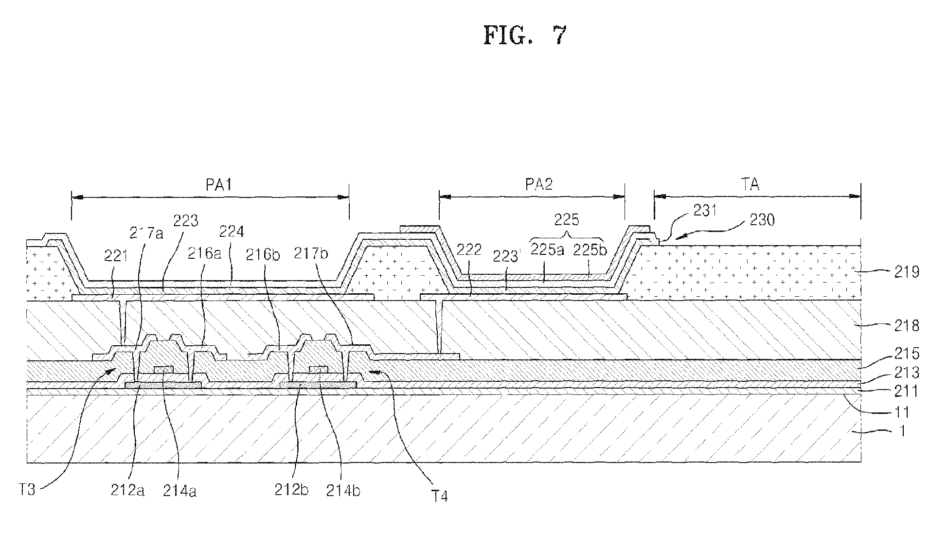
Organic light emitting display device
授权日
1900-01-01
公开(公告)号
EP2618378A2
申请日
2013-01-09
公开(公告)日
2013-07-24
当前申请(专利权)人
SAMSUNG DISPLAY CO., LTD.
发明人
CHUNG, JIN-KOO | CHOI, JUN-HO | KIM, SEONG-MIN
简单同族
CN103219355A | CN103219355B | CN203325906U | EP2618378A2 | EP2618378A3 | EP2618379A2 | EP2618379A3 | JP2013149971A | JP2013149971A5 | JP2018026593A | JP6457613B2 | KR101275810B1 | TW201332100A | TWI562354B | US20130187131A1 | US20150357382A1 | US9111890 | US9634075
简单同族成员数量
18
简单同族被引用专利总数
48
诉讼案件数
0
法律状态/事件
实质审查 | 权利转移
抱歉,您的浏览器不支持PDF预览,请点击链接下载PDF文件