专利数据库
统计分析
产业报告
专利数据监控
产业人才
行业动态
产业政策法规
维权援助
个人中心
详情
文本
图像
标题
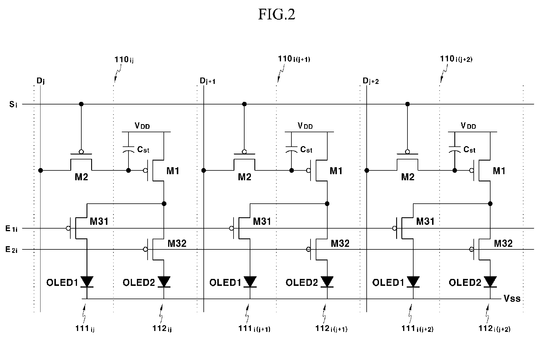
Line scan drivers for an OLED display
授权日
1900-01-01
公开(公告)号
EP1600924A1
申请日
2005-05-10
公开(公告)日
2005-11-30
当前申请(专利权)人
SAMSUNG SDI CO., LTD.
发明人
SHIN, DONG-YONG, LEGAL & IP TEAM
简单同族
AT414314T | DE602005010936D1 | EP1600924A1 | EP1600924B1 | JP2005338837A | US20050264496A1 | US8040302
简单同族成员数量
7
简单同族被引用专利总数
58
诉讼案件数
0
法律状态/事件
授权
抱歉,您的浏览器不支持PDF预览,请点击链接下载PDF文件