专利数据库
统计分析
产业报告
专利数据监控
产业人才
行业动态
产业政策法规
维权援助
个人中心
详情
文本
图像
标题
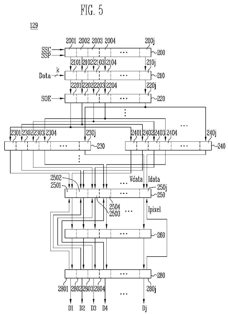
Data driving circuit, organic light emitting diode (OLED) display using the data driving circuit, and method of driving the OLED display
授权日
1900-01-01
公开(公告)号
EP1675093A1
申请日
2005-12-21
公开(公告)日
2006-06-28
当前申请(专利权)人
SAMSUNG SDI CO., LTD.
发明人
CHOI, SANG MOO LEGAL & IP TEAM | KIM, HONG KWON LEGAL & IP TEAM | KWON, OH KYONG LEGAL & IP TEAM
简单同族
CN100468503C | CN1822081A | DE602005004878D1 | DE602005004878T2 | EP1675093A1 | EP1675093B1 | JP2006184848A | JP2010217902A | JP4535442B2 | JP5395728B2 | KR100613091B1 | KR1020060073696A | US20060139261A1 | US7649514
简单同族成员数量
14
简单同族被引用专利总数
56
诉讼案件数
0
法律状态/事件
授权
抱歉,您的浏览器不支持PDF预览,请点击链接下载PDF文件