专利数据库
统计分析
产业报告
专利数据监控
产业人才
行业动态
产业政策法规
维权援助
个人中心
详情
文本
图像
标题
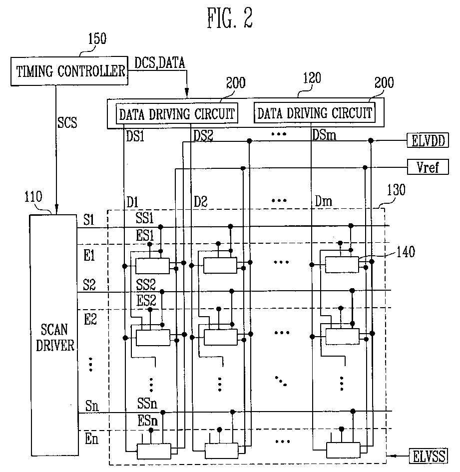
Data driving circuit, organic light emitting diode display using the same, and method of driving the organic light emitting diode display
授权日
1900-01-01
公开(公告)号
EP1750246A2
申请日
2006-08-01
公开(公告)日
2007-02-07
当前申请(专利权)人
SAMSUNG DISPLAY CO., LTD. | IUCF-HYU (INDUSTRY-UNIVERSITY COOPERATION FOUNDATI
发明人
CHUNG, BO YONG SAMSUNG SDI CO. LTD. | RYU, DO HYUNG SAMSUNG SDI CO. LTD. | KWON, OH KYONG SAMSUNG SDI CO. LTD.
简单同族
CN100481181C | CN1909041A | EP1750246A2 | EP1750246A3 | EP1750246B1 | JP2007041586A | JP4790526B2 | KR100703500B1 | KR1020070015829A | US20070024543A1 | US7911427
简单同族成员数量
11
简单同族被引用专利总数
88
诉讼案件数
0
法律状态/事件
授权 | 权利转移
抱歉,您的浏览器不支持PDF预览,请点击链接下载PDF文件