专利数据库
统计分析
产业报告
专利数据监控
产业人才
行业动态
产业政策法规
维权援助
个人中心
详情
文本
图像
标题
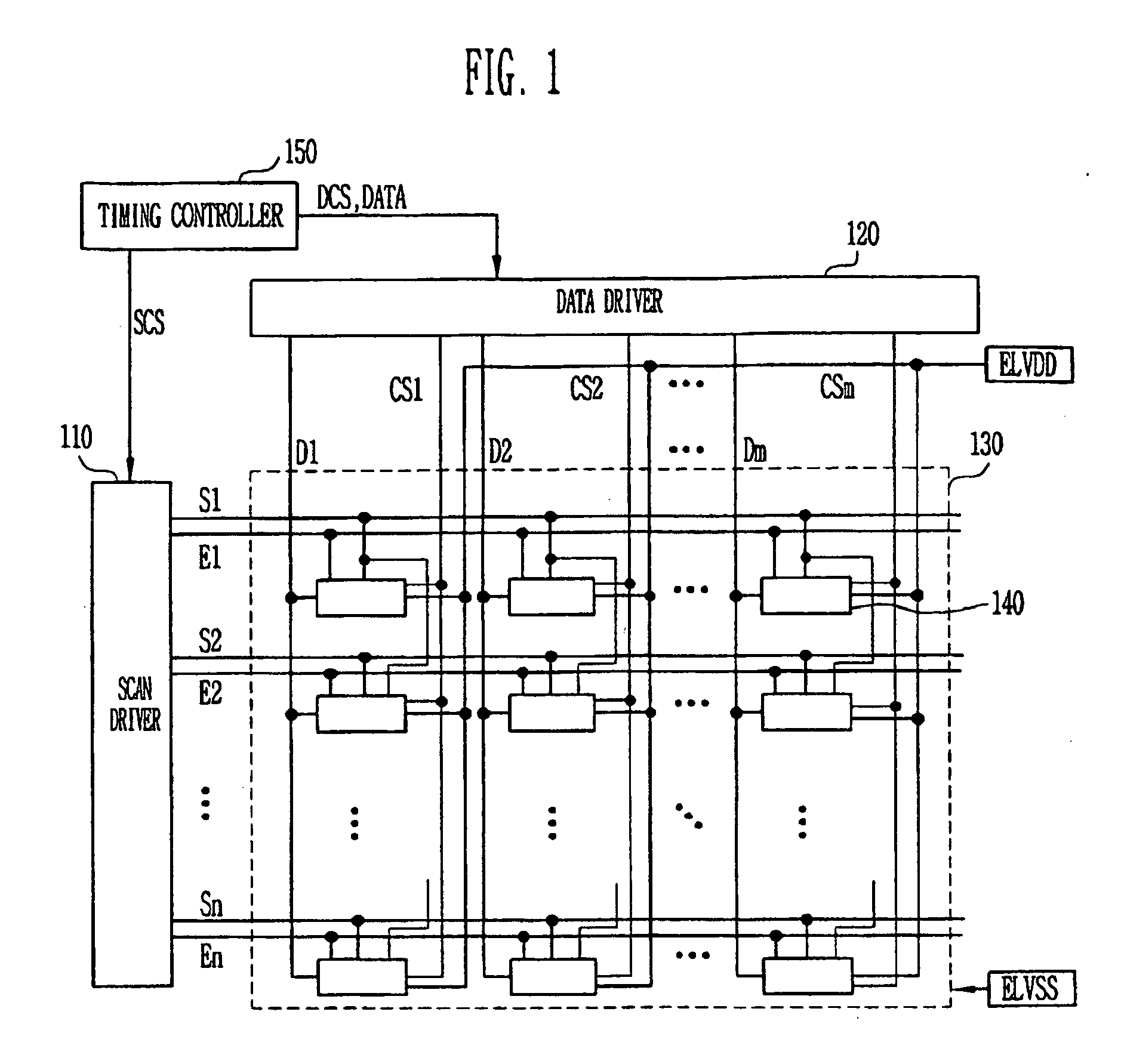
Pixel of an organic light emitting diode display device and method of driving the same
授权日
2013-07-24
公开(公告)号
EP1939848B1
申请日
2007-12-12
公开(公告)日
2013-07-24
当前申请(专利权)人
SAMSUNG DISPLAY CO., LTD.
发明人
KIM, ILYUNG-SOO
简单同族
CN101211536A | CN101211536B | EP1939848A2 | EP1939848A3 | EP1939848B1 | JP2008165166A | KR100821055B1 | TW200828241A | TWI384449B | US20080158114A1
简单同族成员数量
10
简单同族被引用专利总数
46
诉讼案件数
0
法律状态/事件
授权 | 权利转移
抱歉,您的浏览器不支持PDF预览,请点击链接下载PDF文件