专利数据库
统计分析
产业报告
专利数据监控
产业人才
行业动态
产业政策法规
维权援助
个人中心
详情
文本
图像
标题
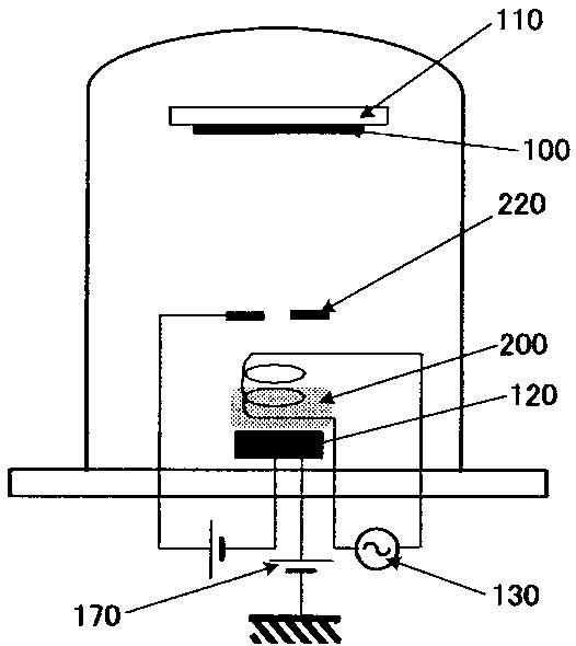
有機ELディスプレイおよびその製造方法
授权日
2008-04-04
公开(公告)号
JP4106076B2
申请日
2006-09-29
公开(公告)日
2008-06-25
当前申请(专利权)人
松下電器産業株式会社
发明人
吉田 英博 | 中嶋 誠二 | 末光 敏行
简单同族
JP4106076B2 | JPWO2007037358A1 | KR100958480B1 | KR1020080053439A | US20090058268A1 | US8080935 | WO2007037358A1
简单同族成员数量
7
简单同族被引用专利总数
76
诉讼案件数
0
法律状态/事件
未缴年费
抱歉,您的浏览器不支持PDF预览,请点击链接下载PDF文件