专利数据库
统计分析
产业报告
专利数据监控
产业人才
行业动态
产业政策法规
维权援助
个人中心
详情
文本
图像
标题
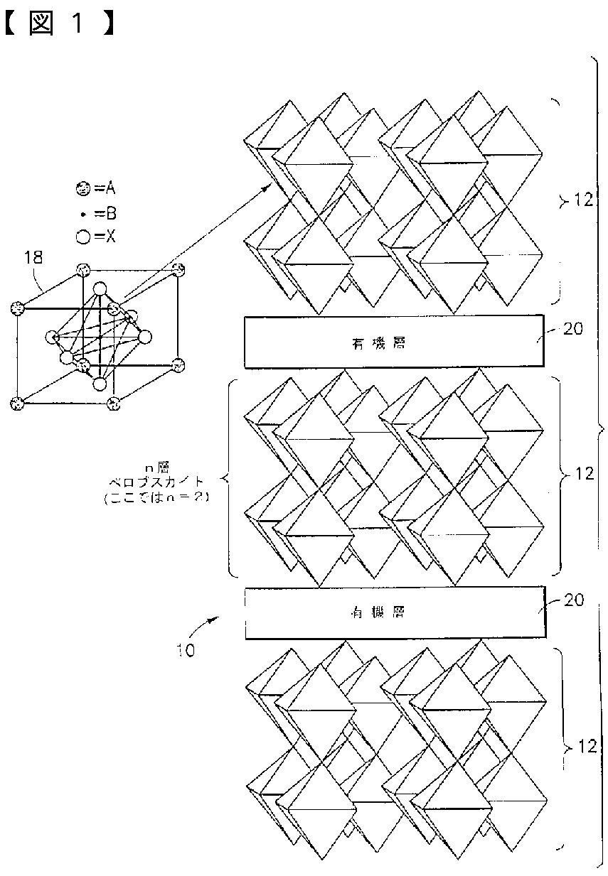
有機-無機ハイブリッド材料
授权日
2004-10-15
公开(公告)号
JP3606557B2
申请日
2000-07-06
公开(公告)日
2005-01-05
当前申请(专利权)人
インターナショナル·ビジネス·マシーンズ·コーポレーション
发明人
コンスタンティノス·ホンドルディス | デービッド·ブライアン·ミツィ
简单同族
CN1202203C | CN1280167A | JP2001055568A | JP3606557B2 | KR100365107B1 | KR1020010049655A | TWI290929B | US6150536
简单同族成员数量
8
简单同族被引用专利总数
46
诉讼案件数
0
法律状态/事件
未缴年费
抱歉,您的浏览器不支持PDF预览,请点击链接下载PDF文件