专利数据库
统计分析
产业报告
专利数据监控
产业人才
行业动态
产业政策法规
维权援助
个人中心
详情
文本
图像
标题
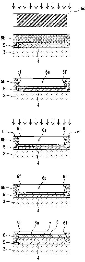
隔壁形成方法、それを用いた有機EL表示パネルの形成方法、および、露光装置
授权日
1900-01-01
公开(公告)号
JP2013175344A
申请日
2012-02-24
公开(公告)日
2013-09-05
当前申请(专利权)人
パナソニック株式会社
发明人
山本 剛司
简单同族
JP2013175344A
简单同族成员数量
1
简单同族被引用专利总数
0
诉讼案件数
0
法律状态/事件
驳回 | 权利转移
抱歉,您的浏览器不支持PDF预览,请点击链接下载PDF文件