专利数据库
统计分析
产业报告
专利数据监控
产业人才
行业动态
产业政策法规
维权援助
个人中心
详情
文本
图像
标题
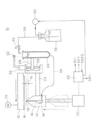
毛管現象による塗工ノズルを用いた有機ELパネルの製造装置及び製造方法
授权日
1900-01-01
公开(公告)号
JP2004164873A
申请日
2002-11-08
公开(公告)日
2004-06-10
当前申请(专利权)人
株式会社ヒラノテクシード
发明人
鵜生川 仁司 | 森井 紀雄 | 森 佳久 | 村田 充孝 | 日浅 丈夫
简单同族
JP2004164873A | JP4313026B2
简单同族成员数量
2
简单同族被引用专利总数
60
诉讼案件数
0
法律状态/事件
授权
抱歉,您的浏览器不支持PDF预览,请点击链接下载PDF文件