专利数据库
统计分析
产业报告
专利数据监控
产业人才
行业动态
产业政策法规
维权援助
个人中心
详情
文本
图像
标题
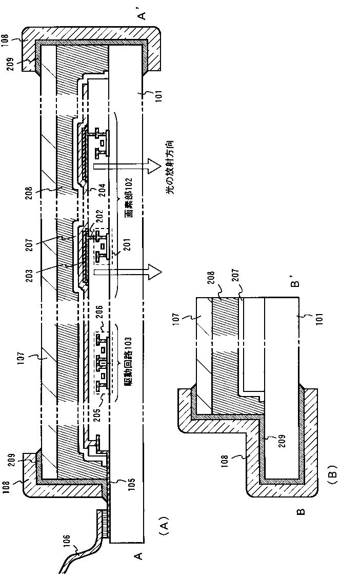
EL表示装置
授权日
1900-01-01
公开(公告)号
JP2014167928A
申请日
2014-04-28
公开(公告)日
2014-09-11
当前申请(专利权)人
株式会社半導体エネルギー研究所
发明人
山崎 舜平 | 荒井 康行 | 水上 真由美
简单同族
JP2014167928A | JP5917593B2
简单同族成员数量
2
简单同族被引用专利总数
0
诉讼案件数
0
法律状态/事件
期限届满
抱歉,您的浏览器不支持PDF预览,请点击链接下载PDF文件