专利数据库
统计分析
产业报告
专利数据监控
产业人才
行业动态
产业政策法规
维权援助
个人中心
详情
文本
图像
标题
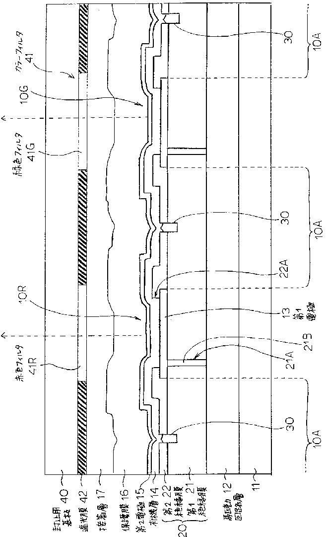
表示装置およびその製造方法
授权日
1900-01-01
公开(公告)号
JP2012216338A
申请日
2011-03-31
公开(公告)日
2012-11-08
当前申请(专利权)人
ソニー株式会社
发明人
山田 二郎 | 横山 誠一 | 長谷川 英史 | 槇田 篤哉 | 上杉 昌尚 | 権藤 勝一 | 市川 朋芳 | 山下 淳一
简单同族
CN102738200A | CN102738200B | JP2012216338A | JP2012216338A5 | JP5708152B2 | KR101895617B1 | KR102008102B1 | KR1020120112067A | KR1020180099616A | KR1020190092364A | KR1020200009108A | KR1020200062120A | KR102069716B1 | TW201306349A | US20120248475A1 | US8981352
简单同族成员数量
16
简单同族被引用专利总数
64
诉讼案件数
0
法律状态/事件
授权
抱歉,您的浏览器不支持PDF预览,请点击链接下载PDF文件