专利数据库
统计分析
产业报告
专利数据监控
产业人才
行业动态
产业政策法规
维权援助
个人中心
详情
文本
图像
标题
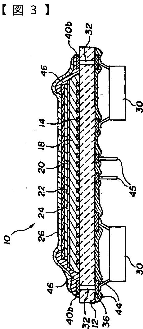
ELラミネート誘電層構造体および該誘電層構造体生成方法ならびにレーザパターン描画方法およびディスプレイパネル
授权日
2005-04-08
公开(公告)号
JP3663600B2
申请日
2002-11-12
公开(公告)日
2005-06-22
当前申请(专利权)人
アイファイアー·テクノロジー·コープ
发明人
シンウェイ·ウー | ジェイムズ·アレクサンダー·ロバート·スタイルズ | ケン·コック·フー | フィリップ·ベイリー
简单同族
JP1995050197A | JP2003157975A | JP2004235167A | JP2004281420A | JP2006032365A | JP3578786B2 | JP3663600B2 | JP3845643B2 | JP3874771B2
简单同族成员数量
9
简单同族被引用专利总数
69
诉讼案件数
0
法律状态/事件
期限届满 | 权利转移
抱歉,您的浏览器不支持PDF预览,请点击链接下载PDF文件