专利数据库
统计分析
产业报告
专利数据监控
产业人才
行业动态
产业政策法规
维权援助
个人中心
详情
文本
图像
标题
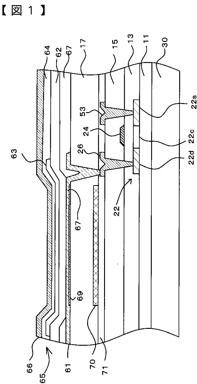
有機ELパネル
授权日
2011-04-08
公开(公告)号
JP4716699B2
申请日
2004-09-22
公开(公告)日
2011-07-06
当前申请(专利权)人
三洋電機株式会社
发明人
西川 龍司 | 小村 哲司
简单同族
CN100477872C | CN1604708A | JP2005129510A | JP2005129510A5 | JP4716699B2 | KR100784052B1 | KR1020050031922A | KR1020060125652A | TW200512691A | TWI249149B | US20050073230A1 | US20080297043A1 | US7531958 | US7839084
简单同族成员数量
14
简单同族被引用专利总数
125
诉讼案件数
0
法律状态/事件
授权
抱歉,您的浏览器不支持PDF预览,请点击链接下载PDF文件