专利数据库
统计分析
产业报告
专利数据监控
产业人才
行业动态
产业政策法规
维权援助
个人中心
详情
文本
图像
标题
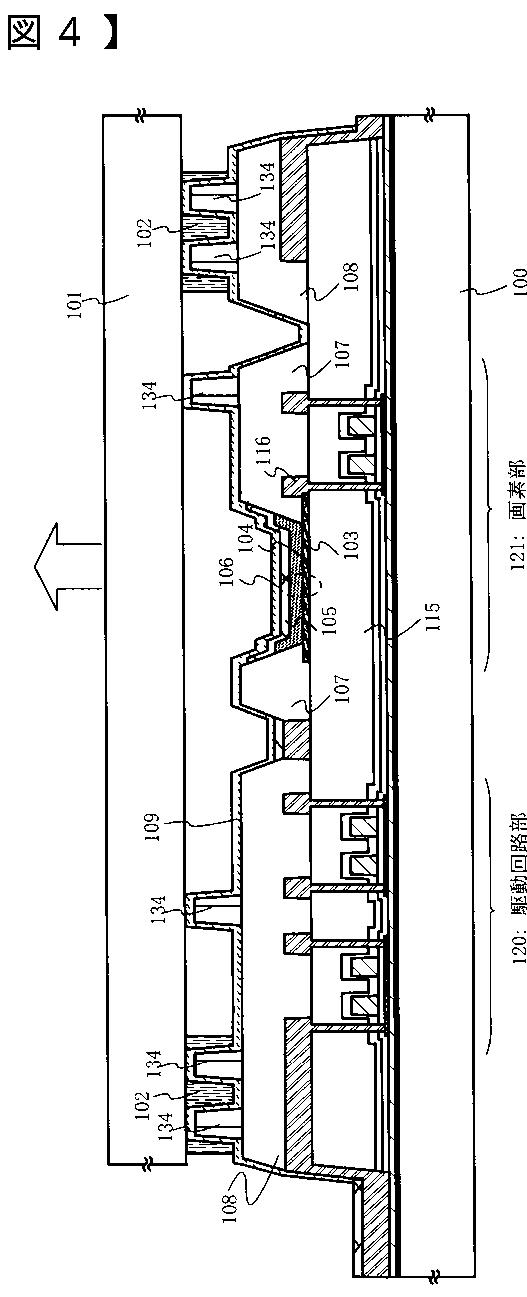
表示装置及びその作製方法
授权日
2008-03-28
公开(公告)号
JP4101529B2
申请日
2002-02-19
公开(公告)日
2008-06-18
当前申请(专利权)人
株式会社半導体エネルギー研究所
发明人
山崎 舜平 | 小山 潤 | 西 毅 | 佐竹 瑠茂
简单同族
JP2002324666A | JP2002324666A5 | JP4101529B2
简单同族成员数量
3
简单同族被引用专利总数
143
诉讼案件数
0
法律状态/事件
授权
抱歉,您的浏览器不支持PDF预览,请点击链接下载PDF文件