专利数据库
统计分析
产业报告
专利数据监控
产业人才
行业动态
产业政策法规
维权援助
个人中心
详情
文本
图像
标题
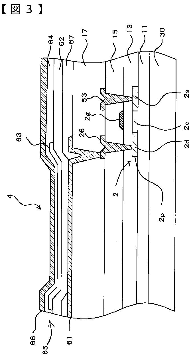
有機ELパネル
授权日
2010-04-09
公开(公告)号
JP4488709B2
申请日
2003-09-29
公开(公告)日
2010-06-23
当前申请(专利权)人
三洋電機株式会社
发明人
松本 昭一郎
简单同族
CN100571477C | CN1604700A | JP2005108528A | JP4488709B2 | KR100687145B1 | KR1020050031395A | TW200512698A | TWI284868B | US20050073487A1 | US7202841
简单同族成员数量
10
简单同族被引用专利总数
48
诉讼案件数
0
法律状态/事件
授权
抱歉,您的浏览器不支持PDF预览,请点击链接下载PDF文件