专利数据库
统计分析
产业报告
专利数据监控
产业人才
行业动态
产业政策法规
维权援助
个人中心
详情
文本
图像
标题
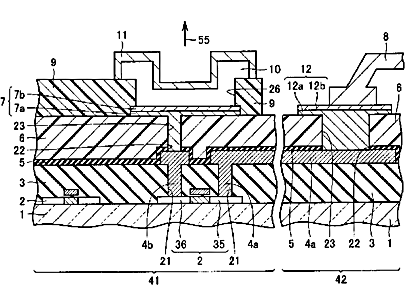
有機EL表示パネル、有機EL表示装置、および有機EL表示パネルの製造方法
授权日
1900-01-01
公开(公告)号
JP2005268099A
申请日
2004-03-19
公开(公告)日
2005-09-29
当前申请(专利权)人
三菱電機株式会社
发明人
小田 耕治 | 渕上 宏幸 | 入住 智之
简单同族
JP2005268099A
简单同族成员数量
1
简单同族被引用专利总数
64
诉讼案件数
0
法律状态/事件
驳回
抱歉,您的浏览器不支持PDF预览,请点击链接下载PDF文件