专利数据库
统计分析
产业报告
专利数据监控
产业人才
行业动态
产业政策法规
维权援助
个人中心
详情
文本
图像
标题
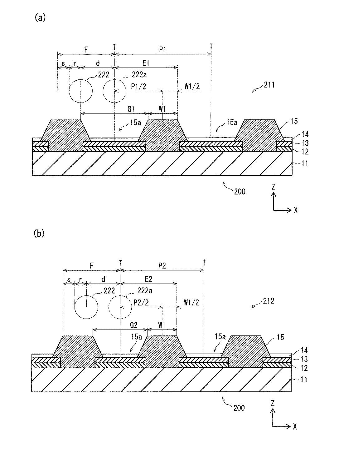
有機EL表示パネルの製造方法、有機EL表示パネル製造用基板、及び有機EL表示パネルの製造におけるノズルの検査方法
授权日
1900-01-01
公开(公告)号
JP2018092788A
申请日
2016-12-02
公开(公告)日
2018-06-14
当前申请(专利权)人
株式会社JOLED
发明人
日比野 洋 | 新谷 庸一
简单同族
JP2018092788A
简单同族成员数量
1
简单同族被引用专利总数
0
诉讼案件数
0
法律状态/事件
实质审查 | 权利转移
抱歉,您的浏览器不支持PDF预览,请点击链接下载PDF文件