专利数据库
统计分析
产业报告
专利数据监控
产业人才
行业动态
产业政策法规
维权援助
个人中心
详情
文本
图像
标题
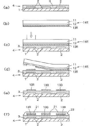
有機EL素子の製造方法および有機EL転写体と被転写体
授权日
1900-01-01
公开(公告)号
JP2003187972A
申请日
2001-12-20
公开(公告)日
2003-07-04
当前申请(专利权)人
大日本印刷株式会社
发明人
岸 本 比呂志
简单同族
JP2003187972A | US20030148022A1 | US20040096698A1 | US20070092721A1
简单同族成员数量
4
简单同族被引用专利总数
47
诉讼案件数
0
法律状态/事件
驳回
抱歉,您的浏览器不支持PDF预览,请点击链接下载PDF文件