专利数据库
统计分析
产业报告
专利数据监控
产业人才
行业动态
产业政策法规
维权援助
个人中心
详情
文本
图像
标题
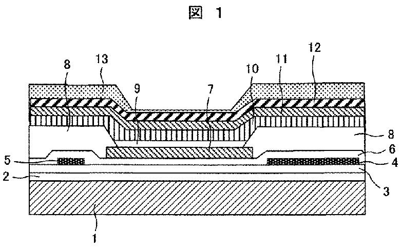
有機発光表示装置
授权日
1900-01-01
公开(公告)号
JP2010010235A
申请日
2008-06-25
公开(公告)日
2010-01-14
当前申请(专利权)人
株式会社日立製作所
发明人
荒谷 介和 | 増田 和人 | 荒谷 康太郎 | 香川 博之 | 武田 新太郎
简单同族
JP2010010235A
简单同族成员数量
1
简单同族被引用专利总数
0
诉讼案件数
0
法律状态/事件
驳回
抱歉,您的浏览器不支持PDF预览,请点击链接下载PDF文件