专利数据库
统计分析
产业报告
专利数据监控
产业人才
行业动态
产业政策法规
维权援助
个人中心
详情
文本
图像
标题
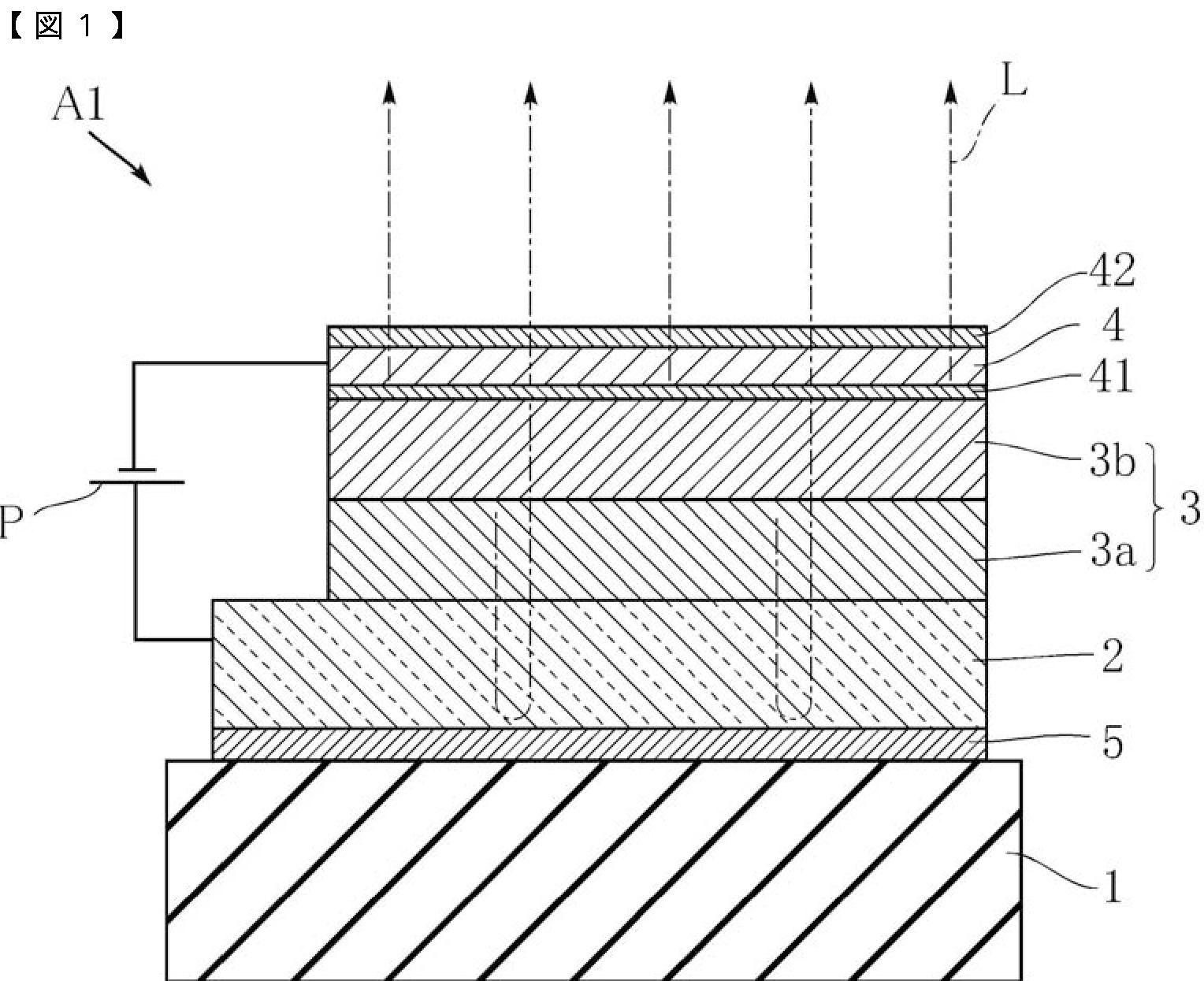
有機EL素子、およびこれを用いた有機EL表示装置
授权日
2011-03-11
公开(公告)号
JP4699098B2
申请日
2005-06-09
公开(公告)日
2011-06-08
当前申请(专利权)人
ローム株式会社
发明人
守分 政人 | 淵上 貴昭 | 加藤 弘樹 | 下地 規之
简单同族
CN101194378A | JP2006344497A | JP4699098B2 | KR1020080010455A | TW200708195A | US20090102358A1 | US8018137 | WO2006132226A1
简单同族成员数量
8
简单同族被引用专利总数
99
诉讼案件数
0
法律状态/事件
授权
抱歉,您的浏览器不支持PDF预览,请点击链接下载PDF文件