专利数据库
统计分析
产业报告
专利数据监控
产业人才
行业动态
产业政策法规
维权援助
个人中心
详情
文本
图像
标题
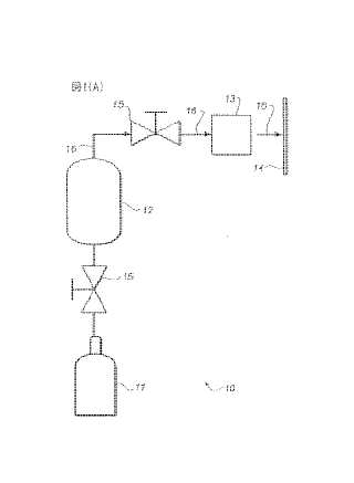
高分子電場発光材料の層を形成する方法
授权日
1900-01-01
公开(公告)号
JP2004079541A
申请日
2003-08-20
公开(公告)日
2004-03-11
当前申请(专利权)人
イーストマン コダック カンパニー
发明人
ラメシュ ジャガナサン | スレシュ サンダーラジャン | セシャドリ ジャガナサン | グレン シー.アービン,ジュニア | ジョン イー.ルーピング | スリダール サダシバン | ゲイリー イー.メーズ | デイビッド ジェイ.ネルソン
简单同族
EP1391944A2 | EP1391944A3 | JP2004079541A | US20040043140A1
简单同族成员数量
4
简单同族被引用专利总数
52
诉讼案件数
0
法律状态/事件
撤回
抱歉,您的浏览器不支持PDF预览,请点击链接下载PDF文件