专利数据库
统计分析
产业报告
专利数据监控
产业人才
行业动态
产业政策法规
维权援助
个人中心
详情
文本
图像
标题
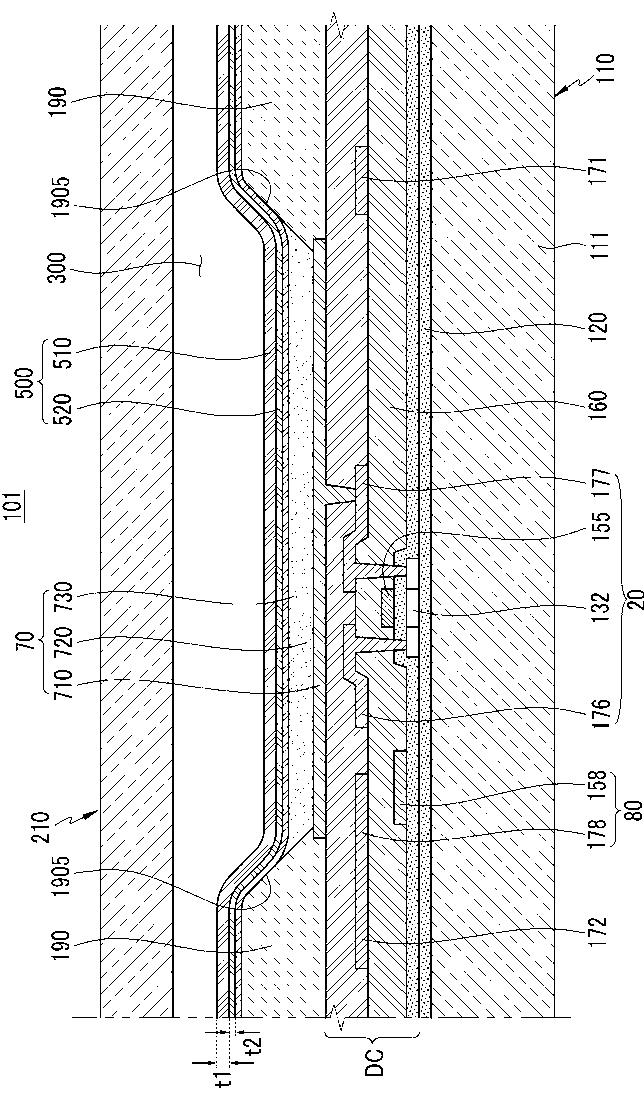
有機発光表示装置
授权日
1900-01-01
公开(公告)号
JP2011113968A
申请日
2010-08-13
公开(公告)日
2011-06-09
当前申请(专利权)人
三星モバイルディスプレイ株式會社
发明人
丁 憙 星 | 朴 順 龍
简单同族
CN102074568A | JP2011113968A | KR1020110058126A | US20110121271A1
简单同族成员数量
4
简单同族被引用专利总数
64
诉讼案件数
0
法律状态/事件
撤回
抱歉,您的浏览器不支持PDF预览,请点击链接下载PDF文件