专利数据库
统计分析
产业报告
专利数据监控
产业人才
行业动态
产业政策法规
维权援助
个人中心
详情
文本
图像
标题
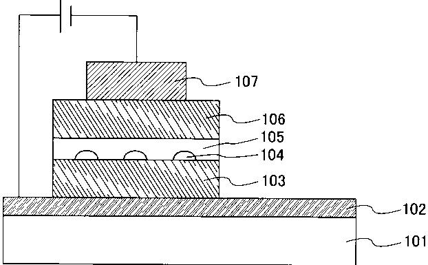
発光素子及び表示装置
授权日
1900-01-01
公开(公告)号
JP2011014548A
申请日
2010-10-04
公开(公告)日
2011-01-20
当前申请(专利权)人
株式会社半導体エネルギー研究所
发明人
山崎 舜平 | 野村 亮二 | 瀬尾 哲史 | 安部 寛子 | 中村 康男
简单同族
JP2011014548A | JP2012160471A | JP2013152949A | JP2013152949A5 | JP5005081B2 | JP5564599B2 | KR101161722B1 | KR101252026B1 | KR1020070026582A | KR1020110124331A | US20070222379A1 | US20120061653A1 | US20130126936A1 | US8018152 | US8339039 | US8643270 | WO2005115062A1
简单同族成员数量
17
简单同族被引用专利总数
59
诉讼案件数
0
法律状态/事件
授权
抱歉,您的浏览器不支持PDF预览,请点击链接下载PDF文件