专利数据库
统计分析
产业报告
专利数据监控
产业人才
行业动态
产业政策法规
维权援助
个人中心
详情
文本
图像
标题
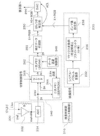
エレクトロルミネッセンス表示装置
授权日
1900-01-01
公开(公告)号
JP2008158222A
申请日
2006-12-22
公开(公告)日
2008-07-10
当前申请(专利权)人
オンセミコンダクター·トレーディング·リミテッド
发明人
村田 勉 | 小川 隆司
简单同族
CN101231816A | CN101231816B | JP2008158222A | JP5095200B2 | US20080303754A1 | US8542166
简单同族成员数量
6
简单同族被引用专利总数
47
诉讼案件数
0
法律状态/事件
授权 | 权利转移
抱歉,您的浏览器不支持PDF预览,请点击链接下载PDF文件