专利数据库
统计分析
产业报告
专利数据监控
产业人才
行业动态
产业政策法规
维权援助
个人中心
详情
文本
图像
标题
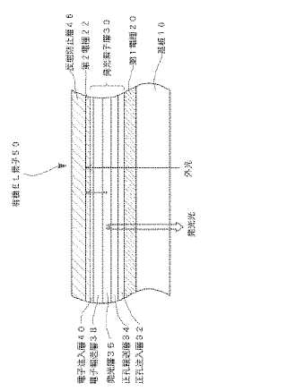
発光素子及び発光表示装置
授权日
1900-01-01
公开(公告)号
JP2004303481A
申请日
2003-03-28
公开(公告)日
2004-10-28
当前申请(专利权)人
三洋電機株式会社
发明人
西川 龍司
简单同族
CN1535096A | JP2004303481A | JP2004303481A5 | KR100584068B1 | KR1020040085010A | TW200423807A | TWI247555B | US20040206960A1
简单同族成员数量
8
简单同族被引用专利总数
66
诉讼案件数
0
法律状态/事件
驳回
抱歉,您的浏览器不支持PDF预览,请点击链接下载PDF文件