专利数据库
统计分析
产业报告
专利数据监控
产业人才
行业动态
产业政策法规
维权援助
个人中心
详情
文本
图像
标题
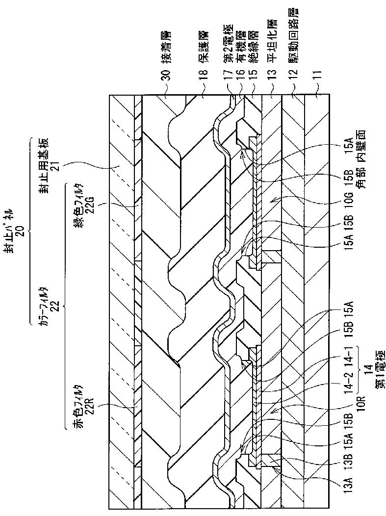
有機発光素子およびこれを備えた表示装置
授权日
1900-01-01
公开(公告)号
JP2012216495A
申请日
2011-12-22
公开(公告)日
2012-11-08
当前申请(专利权)人
ソニー株式会社
发明人
槇田 篤哉 | 白井 裕久 | ひばり野 信介 | 長谷川 英史 | 山田 二郎 | 横山 誠一 | 古賀 康孝
简单同族
CN102738406A | CN102738406B | CN105590956A | JP2012216495A | JP2012216495A5 | JP5919807B2 | US20120248467A1 | US20150069375A1 | US8963170 | US9190460
简单同族成员数量
10
简单同族被引用专利总数
51
诉讼案件数
0
法律状态/事件
授权
抱歉,您的浏览器不支持PDF预览,请点击链接下载PDF文件