专利数据库
统计分析
产业报告
专利数据监控
产业人才
行业动态
产业政策法规
维权援助
个人中心
详情
文本
图像
标题
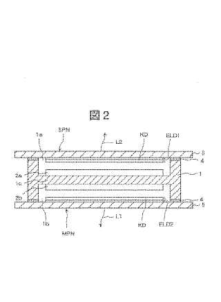
有機·EL表示装置
授权日
1900-01-01
公开(公告)号
JP2005235403A
申请日
2004-02-17
公开(公告)日
2005-09-02
当前申请(专利权)人
株式会社 日立ディスプレイズ
发明人
大岡 浩 | 加藤 真一 | 古家 政光 | 伊藤 雅人
简单同族
CN100490211C | CN1658711A | JP2005235403A | JP2005235403A5 | KR100707252B1 | KR1020060041946A | TW200709724A | TWI286913B | US20050179378A1 | US20080054800A1 | US7622861 | US7888862
简单同族成员数量
12
简单同族被引用专利总数
150
诉讼案件数
0
法律状态/事件
驳回
抱歉,您的浏览器不支持PDF预览,请点击链接下载PDF文件