专利数据库
统计分析
产业报告
专利数据监控
产业人才
行业动态
产业政策法规
维权援助
个人中心
详情
文本
图像
标题
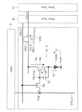
自発光型表示装置およびその駆動方法
授权日
1900-01-01
公开(公告)号
JP2009145594A
申请日
2007-12-13
公开(公告)日
2009-07-02
当前申请(专利权)人
ソニー株式会社
发明人
冨田 昌嗣 | 浅野 慎
简单同族
CN101458895A | CN101458895B | JP2009145594A | JP2009145594A5 | JP5176522B2 | KR1020090063151A | TW200931370A | TWI413963B | US20090153448A1 | US20130027281A1 | US8310418 | US9299287
简单同族成员数量
12
简单同族被引用专利总数
63
诉讼案件数
0
法律状态/事件
授权 | 权利转移
抱歉,您的浏览器不支持PDF预览,请点击链接下载PDF文件