专利数据库
统计分析
产业报告
专利数据监控
产业人才
行业动态
产业政策法规
维权援助
个人中心
详情
文本
图像
标题
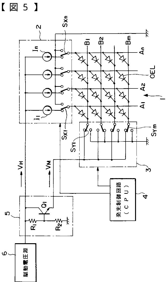
発光表示パネルの駆動方法および有機EL表示装置
授权日
2006-09-15
公开(公告)号
JP3854173B2
申请日
2002-02-27
公开(公告)日
2006-12-06
当前申请(专利权)人
東北パイオニア株式会社
发明人
吉田 孝義 | 村形 昌希
简单同族
CN1441399A | EP1341147A2 | EP1341147A3 | JP2003255894A | JP3854173B2 | TW200303510A | TWI235982B | US20030160744A1 | US7088319
简单同族成员数量
9
简单同族被引用专利总数
77
诉讼案件数
0
法律状态/事件
未缴年费
抱歉,您的浏览器不支持PDF预览,请点击链接下载PDF文件