专利数据库
统计分析
产业报告
专利数据监控
产业人才
行业动态
产业政策法规
维权援助
个人中心
详情
文本
图像
标题
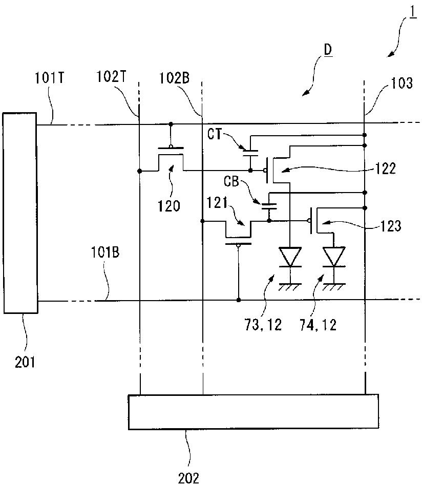
EL表示装置、EL表示装置の製造方法、及び電子機器
授权日
2009-04-10
公开(公告)号
JP4289332B2
申请日
2005-08-02
公开(公告)日
2009-07-01
当前申请(专利权)人
セイコーエプソン株式会社
发明人
二村 徹
简单同族
JP2006128077A | JP4289332B2 | US20060066229A1 | US7679283
简单同族成员数量
4
简单同族被引用专利总数
65
诉讼案件数
0
法律状态/事件
授权 | 权利转移
抱歉,您的浏览器不支持PDF预览,请点击链接下载PDF文件